疫情确证人数/疫情累计确诊多少人

南城 4 2026-03-16 13:15:21

支付宝怎么查询全国现有确诊人数

在支付宝中查询全国现有确诊人数,可按以下步骤操作:打开支付宝并进入【市民中心】打开支付宝应用 ,在首页找到并点击【市民中心】功能入口 。注:若首页未直接显示【市民中心】,可通过顶部搜索栏输入关键词快速定位。进入【防疫工具箱】页面在【市民中心】页面中,找到并点击【防疫工具箱】功能模块。

疫情确证人数/疫情累计确诊多少人-第1张图片

通过支付宝APP查看疫情数据的步骤如下:打开支付宝APP:确保手机已安装支付宝(版本需为20或更高) ,并登录账号 。进入“更多”功能页:在支付宝首页底部菜单栏点击“更多 ”,进入全部应用界面。选取“健康”模块:在应用列表中找到“健康”图标并点击,进入健康服务页面。

疫情确证人数/疫情累计确诊多少人-第2张图片

登录支付宝:确保手机已安装支付宝应用 ,并使用账号密码 、指纹或人脸识别等方式登录 。进入抗击新冠肺炎模块:在支付宝首页下滑屏幕,找到【抗击新冠肺炎】模块,点击进入获取详情。

以下是在新冠肺炎疫情下实用的手机工具推荐 ,涵盖疫情查询、辟谣、发热门诊查询 、线索征集、网上问诊及捐款捐物等方面:全国新型肺炎实时动态查询 工具:丁香园“全国新型肺炎实时动态查询 ”、腾讯“全国新型肺炎疫情实时查” 、支付宝“抗击新型肺炎专题”。

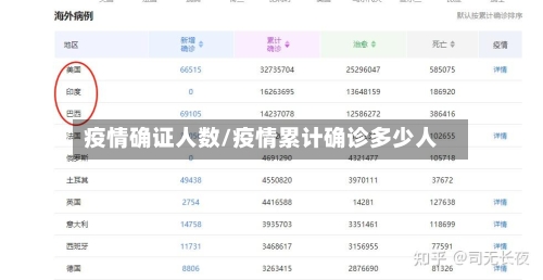
支付宝疫情专区中可以查看每天的确认增加人数 。支付宝搜索疫情点击抗击新冠肺炎 。在全球疫情服务页面 ,查看各地每天新增人数。切换本地,查看当前所在城市的每天确诊人数情况。

【每天更新】NBA各队所在州/地区新冠确诊人数

整体情况:根据统计,截止美国东部时间3月8日晚8点(北京时间3月9日8点) ,全美报告新冠肺炎确诊病例572例,死亡21例;加拿大报告64例 。部分NBA球队所在州/地区数据(数据截止到北京时间3月9日8点):加利福尼亚州:有洛杉矶湖人队、洛杉矶快船队、金州勇士队 、萨克拉门托国王队。

截至北京时间4月9日早8点42分,全美新冠肺炎疫情及NBA相关情况如下:全美疫情概况 确诊病例:430271例 ,较昨日新增29859例。死亡病例:14738例,较昨日新增1884例 。NBA球队所在州/地区疫情情况 NBA确诊人员总数:15人(包括球员 、工作人员和教练组等)。具体确诊及康复情况:尼克斯队:老板多兰确诊。

截至北京时间4月23日早8点45分,全美新冠肺炎累计确诊病例848717例 ,过去24小时新增29973例;死亡累计47659例,过去24小时新增2341例 。

纽约州成为美国首个新冠肺炎确诊人数破万的州,当地时间3月21日确诊总数达10365例 ,其中纽约市确诊超6000例。以下是具体信息梳理:确诊数据与核心区域纽约州长科莫于3月21日宣布,全州累计确诊病例突破1万例,成为美国首个达此规模的州。

新泽西州新冠确诊人数在6月份时每天大约有350人 ,7月份时增加至每天550人 。周六(8月1日) ,肯塔基州新冠确诊新增500人,包括11名年龄在3岁以下的儿童。

中国三年全国疫情多少人

〖壹〗、综合不同渠道信息:新冠疫情在中国的死亡人数统计因统计方式和时间范围不同存在差异,主要集中在4 ,636人至约32万人区间。 官方累计报告数据国家卫健委统计:截止2023年初,累计新冠死亡病例约4,636人 ,此数据随疫情发展和统计调整可能变化 。

〖贰〗、三年疫情期间,我国官方口径统计新冠累计死亡约5万人 。

〖叁〗 、值得注意的是,2022年12月25日世卫公布的三年疫情死亡人数为6 ,584,104人,而2025年的数据较此前增长了约50万例 ,主要因疫情后期部分国家统计口径调整及数据补充。主要国家死亡情况美国:截至2025年2月8日,官方统计累计死亡1,220 ,168人 ,是全球死亡人数比较多的国家。

上一篇:疫情公路检查/疫情公路检查工作总结
下一篇:疫情小卫士图(疫情小卫士手抄报图片)
相关文章